Перейти в ОБД "Мемориал" »

Форум Поисковых Движений

Пожалуйста, войдите или зарегистрируйтесь.

Войти
Расширенный поиск  

Новости:

Автор Тема: Кабилов Тулен (1917-1945). Герой Советского Союза  (Прочитано 4428 раз)

АПО Память

  • Администратор
  • Участник
  • *****
  • Оффлайн Оффлайн
  • Сообщений: 29 198
  • Будаев Александр Валерьевич
    • WWW
Общественные организации выступили с инициативой присвоить одной из улиц Чкаловска (входит в состав г. Калининград) имя  Героя Советсткого Союза Тулена Кабилова, прах которого покоится братской могиле вп. Чкаловск. В ближайшие дни этот вопрос будет рассмотрен на заседании Горсовета.

Литературная заметка размещена в газете "Чкаловский вестник"
http://tos-chkalovsk.narod.ru/vestnik0-g50.htm

По ОБД:
Номер записи    6434220
Фамилия   Кабилов
Имя   Тулин
Дата рождения   __.__.1917
Место рождения   Алма-Атинская обл., Чиликский р-н, Чиганский с/с, к/з "Асачев"
Дата и место призыва   Чиликский РВК, Казахская ССР, Алма-Атинская обл., Чиликский р-н
Последнее место службы   24 Гв. сд
Воинское звание   сержант
Причина выбытия   убит
Дата выбытия   10.04.1945
Название источника информации   ЦАМО
Номер фонда источника информации   58
Номер описи источника информации   18003
Номер дела источника информации   601
VS/002/058-0018003-0601/00000268.jpg


Расположение могил до проведение перезахоронения в 50-х годах.


Номер записи    260454545
Фамилия   Кабилов
Имя   Тулен
Дата рождения/Возраст   __.__.1917
Дата смерти   10.04.1945
Страна захоронения   Россия
Регион захоронения   Калининградская обл.
Место захоронения   п. Чкаловск
Могила   Братская могила
Захоронения2/Передача_001/0026/51_Калининградская_область/00001351.png


Номер записи    400126945
Фамилия   КАБИЛОВ
Имя   Тулен
Дата рождения   __.__.1917
Дата выбытия   10.04.1945
Название источника информации   Назовем поименно. Калининградская область. Том 4
KPVS/01/KPNazovemPoimennoKaliningrOblTom4/00000021.png
Чкаловск
Записан
С уважением,  Александр

АПО Память

  • Администратор
  • Участник
  • *****
  • Оффлайн Оффлайн
  • Сообщений: 29 198
  • Будаев Александр Валерьевич
    • WWW
ГЕРОИ ОТЕЧЕСТВА

Биографическая справка
http://www.warheroes.ru/hero/hero.asp?Hero_id=11981
Записан
С уважением,  Александр

АПО Память

  • Администратор
  • Участник
  • *****
  • Оффлайн Оффлайн
  • Сообщений: 29 198
  • Будаев Александр Валерьевич
    • WWW
НАГРАДНОЙ ЛИСТ
Представление Тулена Кабилова
к званию "ГЕРОЙ СОВЕТСКОГО СОЮЗА"




Обновил ссылку
« Последнее редактирование: 15 Февраля 2024, 14:10:13 от АПО Память »
Записан
С уважением,  Александр

АПО Память

  • Администратор
  • Участник
  • *****
  • Оффлайн Оффлайн
  • Сообщений: 29 198
  • Будаев Александр Валерьевич
    • WWW
Публикация в одной из казахских газет, присланная в музей Боевой Славы школы №11 в п. Чкаловск
Цитировать
ИМЕНЕМ ГЕРОЯ
Наша первая встреча с Кабиловым Туленом состоялась в ноябре 1942 года. Мы, молодые воины, прибыли на Сталинградский фронт из сибирского города Ленинск-Кузнецк и попали в 72-й гвардейский стрелковый полк 24-й гвардейской стрелковой дивизии. Я и мой товарищ Итжанов Алпан были направлены во взвод конной разведки полка, где служил Тулен. Он с радостью встретил нас, своих земляков. Тулен защищал колыбель революции - город Ленина, был там ранен.
Он рассказывал о боях на Волховском фронте под Ленинградом, о пережитых трудностях, о героизме и отваге воинов родного полка и их боевом опыте.
Коммунист Кабилов активно участвовал в жизни партийной организации, работал агитатором среди солдат нерусских национальностей, те с доверием и вниканием слушали его беседы, В начале 1945 года коммунисты избрали его своим парторгом.
До сих пор помню, сразу же после завершения операции по окружению и уничтожению под Сталинградом 330-тысячной армии немецко-фашистских оккупантов, мы, агитаторы - разведчики во главе с Кабиловым, ознакомили в окопах воинов-казахов стрелкового батальона с письмом казахстанцев. Это письмо было выслушано с большим вниманием всеми фронтовиками. Оно прозвучало как набат, призывало к новым подвигам. Воины-казахстанцы давали клятву отомстить врагу за все злодеяния и выполнить наказ своего народа - победить врага.
Тулен писал статьи в красноармейскую газету. Его корреспонденция "Оружие не подведет", помещенная 6 февраля 1944 года в дивизионке, у меня до сих пор сохранилась. Кабилов своей устной и письменной агитацией вселял веру в силу советского оружия и в победу над врагом.
В марте 1943 года я был принят кандидатом, а через 3 месяца в члены партии. И каждый раз мой наставник Тулен давал мне рекомендацию. В нашем взводе были воины разных национальностей: русские - СОНИН, ЛАЗАРЕВ, ЕВДОКИМОВ, белорус ГОРНАК, мордвин МЕХАНОШИН, чуваш АРХИПОВ, трое казахов - КАБИЛОВ, ИТЖАНОВ, я и другие.
Воины особенно отличились при освобождении в 1944 году Крыма от фашистских захватчиков. За освобождение города Евпатории нашей 24-й гвардейской дивизии и 72 гвардейскому полку было присвоено звание Краснознаменных Евпаторийских. В честь полного очищения Крыма от фашистов 10 мая 1944 года в городе-герое Севастополе произведен салют победы. Для нас это был большой праздник!
Позднее наша дивизия из состава 4 Украинского фронта была переброшена в Белоруссию. В пути на станции Лохвица Полтавской области мы с Туленом сфотографировались. Эта фотография осталась для меня самой лучшей памятью о моем верном боевом друге.
С Кабиловым вместе мы сражались при освобождении городов Витебск, Орша в Белоруссии и ряда городов и сел Литвы. В августе 1944 года Тулен по своей просьбе был направлен в стрелковый батальон и стал командовать отделением, меня направили учиться. Я переписывался со своими фронтовыми друзьями - Туленом и Алпаном. В одном из своих писем Алпан писал, что Кабилов в боях за город Кенигсберг погиб и ему присвоено высокое звание Героя Советского Союза. Близок был день победы, но он не дожил до этого светлого дня.
Я написал письмо в Министерство обороны СССР и просил сообщить за какие подвиги Кабилову Т. присвоено высокое звание Героя. Начальник отдела генерал-майор Лозовский сообщил, что Указом Президиума Верховного Совета СССР от 19 апреля 1945 года звание Героя Советского Союза присвоено сержанту Кабилову  Тулену, командиру стрелкового отделения 72 гв. сп, 24 гв, сд, погибшему в боях 10 апреля 1945 года. Это звание КАБИЛОВУ ТУЛЕНУ присвоено за то, что в боях на подступах к городу Кенигсберг он гранатой уничтожил огневую точку врага с ее расчетом и противотанковой гранатой подорвал вражеский танк вместе с собой.
Кабилов Тулен за другие подвиги и заслуги в Отечественной войне награжден орденами Красной Звезды, Славы III степени и двумя медалями "За отвагу".
Грамота Президиума Верховного Совета Героя передана на постоянное хранение, как память, его дочери Туленовой Загипе, проживающей в Чиликском районе Алма-Атинской области.
Гвардии сержант Кабилов Тулен - ровесник Октября, родился в 1917 году в ауле Асы-Сага Алма-Атинской области. В декабре 1941 года Чиликским райвоенкоматом был призван в Красную Армию.
До призыва работал учетчиком полеводческой бригады, затем бухгалтером колхоза. Воевал на Сталинградском, Южном, 4-м Украинском» 1-м Прибалтийском и 3-ем Белорусском фронтах. Вначале служил разведчиком, позже командиром стрелкового отделения.
Вот один из эпизодов боевой жизни Кабилова.
Бой за высоту длился двое суток. Заняв выгодные позиции, противник контратаковал наше подразделение. Последовал призыв: захватить высоту и закрепиться на ней.
- Зачем терять много людей, - сказал Тулен. - Разрешите рискнуть? Получив согласие офицера, Кабилов затемно пробрался в тыл врага. Прильнув к пулемету, с минуты на минуту стал ждать начала нашей атаки. Она началась без артиллерийской подготовки. У фашистов это вызвало полное недоразумение. Но когда во фланг растерявшегося противника ударил пулемет, фашисты в панике отступили. Наше подразделение, не понеся потерь, овладело высотой.
Так впервые имя коммуниста Кабилова появилось в донесении вышестоящему командиру. Через месяц в наградном листе было записано "Гвардии младший сержант Кабилов огнем из пулемета поддерживал наступающую роту. Умело маневрируя на поле боя, он обеспечил успех наступления".
... Из подвала дома противник вел сильный пулеметный огонь. Кабилову со своим  отделением было приказано подползти к дому и броском гранат уничтожить засевших гитлеровцев. Презирая опасность, он по-пластунски подобрался к огневой точке и уничтожил врага.
В этом момент противник внезапно открыл по отделению ружейно-пулеметный огонь из окон дома. Кабилов поднял свое отделение и с криком "Ура" ворвался в дом. Завязался рукопашный бой. Было уничтожено 15 гитлеровцев и 10 взято в плен. Лично сам Кабилов огнем из автомата убил пять солдат противника и одного уничтожил прикладом, 6-й стрелковой роте было обеспечено стремительное продвижение вперед.
10 апреля 1945 года в бою в районе Модиттен Кабилов мужественно вел в атаку своих солдат. Противник перешел в контратаку превосходящими силами пехоты с четырьмя "Фердинандами". Кабилов не отступил ни шагу назад и противотанковой гранатой подорвал вражеский танк вместе с собой.
Так погиб гвардии сержант Тулен Кабилов. Похоронили его воины - гвардейцы со всеми воинскими почестями. Они поклялись у могилы любимого командира и парторга отомстить фашистам. И сдержали свое гвардейское слово.
Светлую память о своем сыне казахский народ хранит в своем сердце. Асы-Сагинской восьмилетней школе, в которой когда-то учился и воспитывался Кабилов Тулен, присвоено его имя. Перед школой, установлен памятник Герою.
• Мой отец, - рассказывает дочь Тулена Загипа, - ушел на фронт, когда мне было 40 дней от рождения. Поэтому я его не помню, смотрю на фотографию так, как будто вижу его во сне. Я горжусь своим отцом. С 1962 года работаю учительницей в школе, где получил образование отец. С мужем Ештаем, он фельдшер на участке отгонного Животноводства, имеем двух сыновей - Есболата и Абиля, стремимся воспитать их такими, каким был их дедушка.
В части где служил Кабилов Тулен, ветераны рассказывают молодым солдатам живые легенды о сержанте Кабилове и других героях.
О подвигах Тулена многие знают в Калининграде. О них писали газеты "Калининградская правда" и "Маяк". В областном краеведческом музее и Государственном университете имеются документы, рассказывающие о Герое Советского Союза КАБИЛОВЕ ТУЛЕНЕ.
Имя Героя Советского Союза Кабилова Тулена присвоено новому рыболовному судну, построенному по советскому заказу на судостроительной верфи г. Штральзунд в ГДР. Водоизмещение судна 3320 тонн, длина 82 метра, ширина - 13,6 метра. Экипаж судна - 78 человек, среди них русские, украинцы, латыши, литовцы, молдаване, армяне. Символично что судно носит имя казаха, прославленного воина, нашего земляка.
Капитан судна Николай Васильевич Бомбин и его заместитель Николай Васильевич Иванов сообщают, что в марте коллектив траулера завоевал первое место, переходящий вымпел и первою денежную премию среди судов Калининградской базы экспедиционного флота.
Весть о присвоении одному из вновь построенных рыболовных траулеров имени Тулена Кабилова обрадовало мать Героя Кулъжамилу, жену Жамалхан, дочь Загипу, всех нас, его земляков. Мы от души благодарим трудящихся города Калининграда за то, что они чтут славу дорогого нам ТУЛЕНА КАБИЛОВА.
Хорошо бы и алмаатинцам увековечить память о Герое Советского Союза Кабилове 'Тулене, присвоив его одной из улиц города Алма-Аты, Мне думается, он этого заслужил своим подвигом и своей жизнью.
ВТОРНИК, 11 июня 1968 года.
Нурым САНСЫЗБАЕВ.
Записан
С уважением,  Александр

Куликов Г

  • Участник
  • **
  • Оффлайн Оффлайн
  • Сообщений: 27
  • Куликов Г
Школьная мафия
« Reply #4 : 14 Марта 2011, 12:30:10 »
ШУЛЕРЫ В ШУЛЛЕ.
Школьная мафия* списала в утиль героя-казаха
Мы должны как-то искупить

нашу вину перед мёртвыми -

перед убитыми солдатами.

Не они требуют этого,

но что-то в нас самих.


Ричард Олдингтон
“Смерть героя”

С гранатой на танки

9 апреля 1945 года гарнизон Кёнигсберга капитулировал. Но бои в черте города продолжались - разрозненные немецкие части пытались пробиться на Запад. 10 апреля в районе Юдиттен (неподалёку от нынешней “Вагонки”) усиленная танками фашистская пехота пошла в отчаянную контратаку. На острие удара оказалось отделение сержанта Тулена Кабилова, которого бойцы по-русски звали “Толиком”.
Слева: Герой Советского Союза сержант Тулен Кабилов.
Справа: Экс-директор школы №14 Григорий Тамарский, муж директора школы №14

- Отсекайте пехоту! - приказал взводный.

Да какое там - танки из пулемётов так поливают, что головы не поднять!

- Пропускай танки через себя! - крикнул Кабилов, а сам бросился к ближайшей вражеской машине. Метнул противотанковую гранату, а через секунду в подбитом танке рванул боезапас. Этим взрывом Кабилова и убило...

Командир 72-го гвардейского стрелкового полка майор Бельчиков лично подписал наградной лист на сержанта. Кабилов и в предыдущих боях отличался - начал воевать ещё под Сталинградом. Посмертно сержанту присвоили звание Героя Советского Союза. На родине Тулена Кабилова (в казахском селе Асысага) установили памятник герою, а на стене калининградской школы №14 (ул. Радищева, 81) укрепили мемориальную доску. Потомству в пример...

Сам Кабилов даже среднюю школу не окончил - война с фашистами помешала. Так что вряд ли Тулен-Толик знал историю Кёнигсберга. О Канте, возможно, и слышал краем уха, но вот о таком прусском деятеле, как Иоганн Георг Шеффнер - точно нет. Тем не менее, эти два абсолютно разных человека сегодня стали причиной конфликта, развернувшегося вокруг уже упомянутой школы №14...

Выпускники “Шеффнер-шулле”

В 2010 году школа №14 будет отмечать юбилей - 100 лет со дня основания. Почему сто? Оказывается, здание школы было построено в 1910 году (ещё в Кёнигсберге). Тогда этому учебному заведению и присвоили имя Иоганна Георга Шеффнера - немецкого общественного деятеля, поэта, друга самого Иммануила Канта. И вот в наши дни руководство школы №14 вспомнило о своих “исторических корнях”.

На стене здания появилась табличка - “Школа имени Шеффнера, построена в 1910 году. Средняя школа №14 восстановлена в 1954 году”. И всё бы ничего: Шеффнер - друг Канта, как никак. Только вот несколько ранее со школьной стены странным образом исчезла мемориальная доска Героя Советского Союза Тулена Кабилова...

- В этом году была встреча выпускников-одноклассников, - делится впечатлениями бывший ученик школы №14 Владимир Юрьевич Семёнов, - на ней я неожиданно узнал, что являюсь выпускником “Шеффнер-шулле”. А о Кабилове никто не вспоминает...

- Официально наше учебное заведение не носит имя Шеффнера, - сообщила журналисту “НК” директор школы Нина Васильевна Тамарская, - но мы хотим облагородить старое здание. С финансированием у нас проблемы, так что надеемся на благотворительность. Богатых родителей у нас нет, а наши выпускники щедростью не отличаются. Вот и пытаемся привлечь общественность. В том числе, немецкую...

Операция “Преемник”

Иоганн Георг Шеффнер

Ситуация понятна. Но почему “пострадал” Толик Кабилов? С фашизмом ведь воевал человек. Нина Васильевна развела руками: мемориальная доска давно пропала - даже не припомнит, при каких обстоятельствах. Да и имя Героя Советского Союза она уже запамятовала.

Ситуацию спас вызванный директором пожилой учитель. Доску, говорит, ещё при мэре Юрии Алексеевиче Савенко демонтировали. Юрсеич договорился с какими-то бизнесменами, и те (в обмен на земельные участки) произвели ремонт фасада школы. С тех пор доску не видели. Возможно, предприниматели её в металлолом сдали - бронзовая ведь. Денег стоит...

Услышав слова “земельные участ­ки”, Нина Васильевна оборвала коллегу. На эту тему директор говорить не хотела. Отвечать на вопросы отказалась наотрез и даже пригрозила подать на журналиста в суд.

- Ничего противозаконного в этом нет! - нервничала Тамар­ская. - Решение принималось в мэрии!

Больше - ни слова. В общем, не надо ворошить прошлое. Тем более, что случилось это ещё при прежнем директоре...
На снимке: тот самый дом семьи Тамарских, построенный на территории школьного стадиона

Кстати, в то время директором был Григорий Сергеевич Тамарский - муж Нины Васильевны. И именно в то время на школьной спортивной площадке, как грибы после дождя, стали появляться... роскошные коттеджи. Один из особняков (Рылеева, 6) заселила семья Тамарских. А через некоторое время мужа на посту директора сменила жена. Прямо операция “Преемник”...

В борьбе с тиранией

Немного успокоившись, Нина Васильевна призвала все газеты (“Новые колёса” особенно) “работать на созидание и консолидацию общества”. Проще говоря, рассказывать о позитивных аспектах жизни и не будоражить людей. Тем, по мнению Тамарской, масса. В школе регулярно проходят благотворительные фестивали, коллектив выигрывает различные гранты, участвует в общероссийских конкурсах, создаёт музей, готовится к встрече 65-летия Победы.
Между прочим, к предстоящему празднованию 9 Мая на стене школы вновь появится мемориальная доска.

- На ней будет имя одного из участников Великой Отечественной войны, - с гордостью сообщила Нина Васильевна. - Лётчика. Героя Советского Союза. Это решение администрации Калининграда.

Правда, имя лётчика директор так и не вспомнила. А почему город­ские власти решили заменить одного героя на другого - понятия не имеет. Может, фамилия Кабилов неблагозвучна, может - звание сержант не престижно...

Как бы там ни было, ученики “школы Шеффнера” скоро возьмут себе в пример другого героя. Какая кому разница, чьё имя на стене значиться будет...

...Когда Пруссия была оккупирована войсками Наполеона, 76-летний Шеффнер отчаянно призывал жителей Кёнигсберга к освободительной борьбе. Причём, вопреки воле императора Фридриха Вильгельма! В конце концов, прусские добровольцы встали на сторону русских войск.

А после окончания войны Шеффнер предложил воздвигнуть памятник народным ополченцам, павшим в боях с французами. Крест был воздвигнут на вершине самого высокого холма на Земландском полуострове - в районе нынешнего посёлка Переславское. Да, уважал старик Шеффнер память солдат, погибших в борьбе с тиранией. Не то, что наши чиновники от образования...

А. Захаров

*Мафия - семья на Сицилии, патриархальная, крестьянская. Позднее термин стал использоваться в названии криминального сообщества.

Дата публикации: 10.04.2010
« Последнее редактирование: 31 Января 2024, 09:00:31 от АПО Память »
Записан
С уважением Куликов Г

АПО Память

  • Администратор
  • Участник
  • *****
  • Оффлайн Оффлайн
  • Сообщений: 29 198
  • Будаев Александр Валерьевич
    • WWW
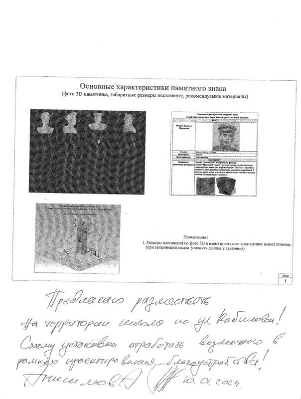
Получено письмо из Казахстана по установке бюста Кабилова Т.


Здраствуйте, уважаемые коллеги!
Мы абсолютно согласны с вашим предложением устанавливать бюсты героев Великой Отечественной войны.
У нас в Чкаловске на воинском мемориале захоронено 5 Героев Советского Союза.
Фото плиты:
...
...

Вносим инициативу установить на мемориале в Чкаловске бюсты пяти Героям Советского Союза. Они вместе погибли при штурме Кёнигсберга и должны быть в одной шеренге на воинском мемориале.

Публикация в одной из казахских газет, присланная в 1968 году музею Боевой Славы школы №11 в п. Чкаловск
Цитировать
ИМЕНЕМ ГЕРОЯ
...
Гвардии сержант Кабилов Тулен - ровесник Октября, родился в 1917 году в ауле Асы-Сага Алма-Атинской области...
Весть о присвоении одному из вновь построенных рыболовных траулеров имени Тулена Кабилова обрадовало мать Героя Кулъжамилу, жену Жамалхан, дочь Загипу, всех нас, его земляков. Мы от души благодарим трудящихся города Калининграда за то, что они чтут славу дорогого нам ТУЛЕНА КАБИЛОВА.
Хорошо бы и алмаатинцам увековечить память о Герое Советского Союза Кабилове 'Тулене, присвоив его одной из улиц города Алма-Аты, Мне думается, он этого заслужил своим подвигом и своей жизнью.
ВТОРНИК, 11 июня 1968 года.
Нурым САНСЫЗБАЕВ.
Записан
С уважением,  Александр

АПО Память

  • Администратор
  • Участник
  • *****
  • Оффлайн Оффлайн
  • Сообщений: 29 198
  • Будаев Александр Валерьевич
    • WWW
Направлено обращение в администрацию
Цитировать
Вопросы к власти
Официальный сайт администрации ГО «Город Калининград»
no-reply@klgd.ru
Сегодня в 9:14

Уважаемый(ая), Будаев Александр Валерьевич.

Уведомляем Вас, что данное обращение получено администрацией городского округа "Город Калининград" и будет рассмотрено в соответствии с действующим законодательством.

Получатель: Дятлова Елена Ивановна cityhall@klgd.ru
Получение ответа: в электронном виде по адресу: may1945-pobeda@yandex.ru
Записан
С уважением,  Александр

BORUS

  • Администратор
  • Участник
  • *****
  • Оффлайн Оффлайн
  • Сообщений: 4 591
  • Борис Петрович
Записан
Трухачёв Борис Петрович
Воля к победе решающий фактор!

АПО Память

  • Администратор
  • Участник
  • *****
  • Оффлайн Оффлайн
  • Сообщений: 29 198
  • Будаев Александр Валерьевич
    • WWW
Пока получен такой ответ:
На 19.02.24 в службе государственной охраны объектов культурного наследия Калининградской области назначено очередное заседание

Ссылка на мемориал в Чкаловске
Записан
С уважением,  Александр
Страниц: [1]   Вверх
« предыдущая тема следующая тема »